Sony muốn sử dụng AI để giúp đỡ người khiếm thị chơi game dễ dàng hơn

Một bằng sáng chế mới đây của Sony gợi ý rằng công ty có thể đang phát triển những phương thức giúp đỡ người khiếm thị chơi game một cách dễ dàng hơn.

Một bằng sáng chế mới của Sony cho thấy AI đang được sử dụng để làm cho trò chơi trở nên dễ tiếp cận hơn với người khiếm thị. Các tựa game đang dần trở nên dễ tiếp cận hơn theo nhiều cách và Sony có vẻ sẽ bổ sung thêm một phương pháp mới để mở rộng phương tiện tiếp cận nhiều game thủ hơn.

Sony

Sony tiếp tục đã nộp bằng sáng chế mới để cải tiến công nghệ của mình trên diện rộng. Trong số các bằng sáng chế gần đây của họ có sự quan tâm của Sony với công nghệ MMO server, hệ thống ngửi mùi khi chơi game và bộ điều khiển độc đáo. PS5 và Xbox series X/S đang thu hẹp dần khoảng cách giữa những game thủ bình thường và có khiếm khuyết. Để nâng cao việc này, một bằng sáng chế đã được nộp với nội dung tạo ra các kiểu chơi dễ hiểu hơn đối với những người bị khiếm thị.

Sony

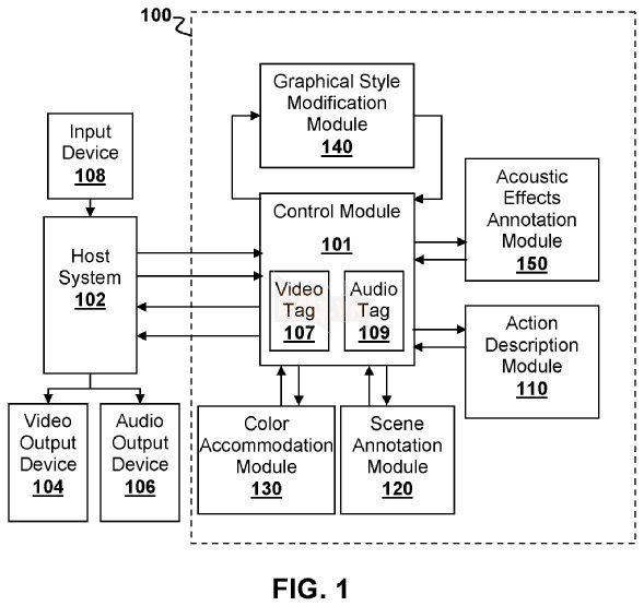
Theo bằng sáng chế mới, "hệ thống trợ năng theo yêu cầu" có thể được triển khai trong các trò chơi trong tương lai để minh hoạ bằng âm thanh cho một số cảnh nhất định để giúp đỡ người khiếm thị. Hệ thống này có thể được kích hoạt bởi các module khác nhau cung cấp phản hồi từ trò chơi. Các module bao gồm mô tả hành động, mô tả cảnh vật, màu sắc, kiểu đồ hoạ và cả chú thích hiệu ứng âm thanh. Kết hợp các phản hồi khác nhau này sẽ được tổng hợp vào tay cầm DualSense để diễn tả hành động đang diễn ra trên màn hình cho người chơi thông qua các chú thích. Hệ thống mới này có thể cung cấp cho người chơi khiếm thị hình ảnh chính xác hơn về những gì đang xảy ra hơn là mô tả từng cảnh quan cho các game thủ này.

Sony

Sony sẽ sử dụng các công nghệ mới từ DualSense như chuyển động, thay đổi khung hình, số lần nhấn nút và tín hiệu âm thanh được phát qua loa tích hợp. Dựa trên các ngôn ngữ trong bằng sáng chế của Sony, hệ thống này cũng có thể được triển khai trong phim, chương trình truyền hình và âm nhạc. 

Mặc dù một số trò chơi hiện đại có phụ đề, hệ thống trợ năng theo yêu cầu này có thể mang lại lợi ích cho những tựa game không có nó. Vấn đề là tính năng mới này có thể sẽ mất khá nhiều thời gian để triển khai rộng rãi khi nó yêu cầu rất nhiều thứ.

Xem thêm: Trò chơi sao chép The Last of Us bị chính Sony cho bay màu khỏi Nintendo eShop
Xem thêm: Microsoft xác nhận đóng cửa Xbox 360 Store

Bài đọc nhiều nhất

Bài mới trong ngày

"Firefly Wedding": Khi tình yêu nảy mầm từ lưỡi dao của kẻ sát nhân

"Firefly Wedding": Khi tình yêu nảy mầm từ lưỡi dao của kẻ sát nhân

hoanlagvnDũng Nhỏ TT

Sau một thời gian làm mưa làm gió trên ứng dụng Manga ONE, bộ truyện đình đám của tác giả Oreko Tachibana – Hotaru no Yomeiri (Hôn Nhân Đom Đóm) – đã chính thức nhận được "tấm vé" chuyển thể thành Anime. Với cốt truyện đầy kịch tính và mang hơi hướng "dark romance", bộ phim hứa hẹn sẽ tạo nên một cơn sốt mới khi chính thức lên sóng vào tháng 10 năm 2026.

Giải trí
Ẩn dụ "Nhện giăng lưới Bướm" trong Chainsaw Man: Liệu Reze mới là người sập bẫy tình?

Ẩn dụ "Nhện giăng lưới Bướm" trong Chainsaw Man: Liệu Reze mới là người sập bẫy tình?

hoanlagvnDũng Nhỏ TT

Kể từ khi siêu phẩm điện ảnh Chainsaw Man – The Movie: Reze Arc chính thức trình làng, sức hút của cặp đôi Denji và Reze vẫn chưa bao giờ hạ nhiệt. Mới đây, một phân tích mang tính bước ngoặt trên X (Twitter) đã khiến người hâm mộ phải "quay xe" khi lật lại ý nghĩa thực sự của hình ảnh ẩn dụ "Nhện và Bướm" trong phân cảnh hồ bơi đầy mê hoặc.

Giải trí
Lên đầu trang