Camera có thể sẽ xuất hiện trên Apple Watch trong tương lai

Camera có thể sẽ xuất hiện trên Apple Watch năm 2024.

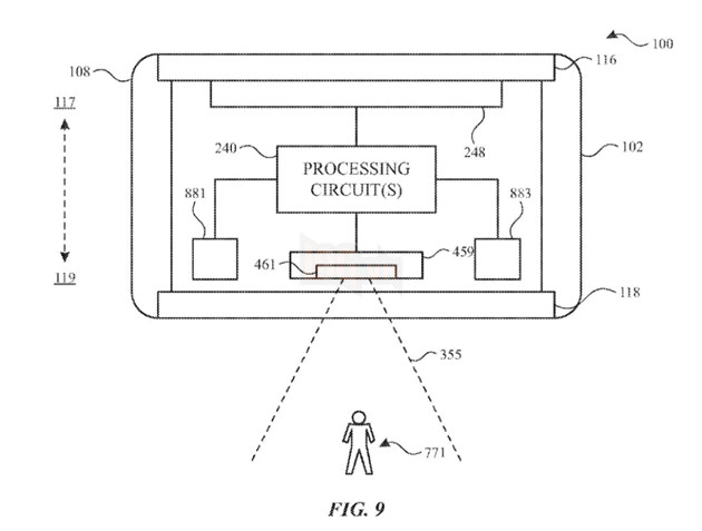
Apple được cấp bằng sáng chế việc bổ sung camera vào phiên bản Apple Watch trong tương lai. Bằng sáng chế cho thấy một số triển khai thú vị bao gồm một ứng dụng có ống kính camera gắn ở mặt phía bên núm xoay công tắc.

Với cấu trúc này, người dùng chỉ cần bấm vào màn hình để chụp ảnh. Ngoài ra, bạn cũng có thể tháo vỏ đồng hồ khỏi dây đeo để tăng tính linh hoạt khi chụp.

Camera có thể sẽ xuất hiện trên Apple Watch trong tương lai.

Một minh họa khác nêu bật cách hoạt động của máy ảnh gắn phía sau. Theo cách sắp xếp này, một cơ chế sẽ tách vỏ đồng hồ khỏi dây đeo và cho phép người dùng chụp ảnh được gắn ở mặt sau của đồng hồ. Một đèn LED có thể đóng vai trò như một đèn flash nhằm hỗ trợ chụp những bức ảnh thiếu sáng. Trong cả hai cấu hình, màn hình phía trước của Apple Watch sẽ hoạt động như một ống ngắm và hiển thị để xem lại các hình ảnh đã chụp.

Camera có thể sẽ xuất hiện trên Apple Watch trong tương lai.Camera có thể sẽ xuất hiện trên Apple Watch trong tương lai.

Đồng hồ thông minh có camera tích hợp không phải là một ý tưởng mới nhưng các sản phẩm hiện có vẫn chưa đạt được nhiều sức hút. Quyền riêng tư vẫn là một mối quan tâm thực sự, và cả vấn đề chất lượng và dự phòng cũng là những rào cản. Apple là công ty dẫn đầu thị trường trong danh mục đồng hồ thông minh và nếu họ có thể triển khai mà không cảm thấy quá phô trương, thì Đồng hồ Apple trong tương lai có thể còn đáng mong đợi hơn.

Bắng sáng chế chỉ được cấp trong tuần này, vì thế không có khả năng bất kỳ tính năng mới nào trong số này sẽ được đưa vào Series 8 sắp ra mắt dự kiến vào mùa thu này. 

 

 

 

Bài liên quan

Bài đọc nhiều nhất

Bài mới trong ngày

Khi "Gã khổng lồ" J-Pop thức tỉnh: Vì sao âm nhạc Nhật Bản vẫn chưa thể "chiếm lĩnh" thế giới?

Khi "Gã khổng lồ" J-Pop thức tỉnh: Vì sao âm nhạc Nhật Bản vẫn chưa thể "chiếm lĩnh" thế giới?

hoanlagvnDũng Nhỏ TT

Trong một chia sẻ đầy tâm huyết mới đây, ông Takuya Chigira – CEO của Cloud Nine (công ty quản lý nữ siêu sao Ado) – đã đưa ra một nhận định gây xôn xao: "Âm nhạc Nhật Bản vẫn chưa thực sự tạo được dấu ấn tại các thị trường lớn như Mỹ và châu Âu". Đây không phải là một kết luận bi quan, mà là một cái nhìn trực diện vào thực tế đầy áp lực của ngành công nghiệp âm nhạc xứ Phù Tang năm 2026.

Giải trí
CEO Amazon nhận thu nhập tăng mạnh giữa làn sóng sa thải 30.000 nhân viên

CEO Amazon nhận thu nhập tăng mạnh giữa làn sóng sa thải 30.000 nhân viên

quânQuân Kít

Trong khi Amazon cắt giảm hàng chục nghìn việc làm kể từ cuối năm 2024, tổng thu nhập của CEO Andy Jassy lại tăng lên khoảng 2,1 triệu USD trong năm 2025. Sự chênh lệch này đang thu hút nhiều sự chú ý, đặc biệt khi công ty liên tục nhấn mạnh việc tối ưu chi phí và tái cấu trúc hoạt động nhờ AI.

Công Nghệ
Cận cảnh nhan sắc "nàng thơ" đăng quang Hoa khôi Sinh viên Nhật Bản 2026: Cú hích 6 giải phụ gây chấn động

Cận cảnh nhan sắc "nàng thơ" đăng quang Hoa khôi Sinh viên Nhật Bản 2026: Cú hích 6 giải phụ gây chấn động

hoanlagvnDũng Nhỏ TT

Tại đêm chung kết cuộc thi nhan sắc sinh viên danh giá nhất Nhật Bản – Miss of Miss Campus Queen Contest 2026, cái tên Tanaka Aoi đã được xướng lên đầy thuyết phục. Không chỉ chạm tay vào chiếc vương miện cao quý nhất, cô gái này còn lập nên một kỳ tích hiếm có khi "ôm trọn" thêm 6 giải thưởng phụ khác, khẳng định sức hút tuyệt đối của mình đối với cả ban giám khảo lẫn công chúng.

Giải trí
Crunchyroll đối mặt vụ kiện tập thể: Khi lịch sử xem Anime bị "bán đứng" cho bên thứ ba

Crunchyroll đối mặt vụ kiện tập thể: Khi lịch sử xem Anime bị "bán đứng" cho bên thứ ba

hoanlagvnDũng Nhỏ TT

Vào ngày 08/03/2026, cộng đồng công nghệ và người hâm mộ Anime toàn cầu chấn động trước thông tin Crunchyroll chính thức bị kiện tập thể. Đơn kiện khẳng định nền tảng này đã vi phạm nghiêm trọng Đạo luật Bảo vệ Quyền riêng tư Video (VPPA) – một đạo luật khắt khe nhằm bảo vệ bí mật thông tin của người tiêu dùng trong lĩnh vực giải trí.

Giải trí
Lên đầu trang